ZFB型防闭塞装置概述
ZFB系列防闭塞装置也称为仓壁振打器,是以振动器为激振源的产品,它是靠髙频振动和冲击力,有效地 消除由于内摩、潮解、带电、成分偏析等原因引起的架桥、搭拱、堵塞现象,从而使物料从料仓口顺利排出,保证稳定供料所必须的设备。ZFB系列防闭塞装置(仓壁振打器)广泛应用于冶金、化工、建材、火电、煤 炭、食品、水泥、磨料等行业。

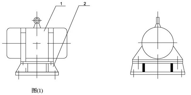
ZFB型防闭塞装置结构原理
ZFB系列防闭塞装置的结构如图1所示。由振动电机(1)、底座(2)两部分组成。振动电机和底座由螺栓紧密地固定为一体。由于底座紧固地安装在料仓壁上,这样就构成了单质点定向强迫振动系统。
当防闭塞装置(草莓app黄版ios)工作时,振动电机的髙速转动,便产生了对料仓壁的周期性高频振动,由于防闭塞装置的周期性振动,一方面使物料与仓壁脱离接触、消除物料与仓壁的磨擦,另一方面使物料受交变速度和加速度的影响,处于不稳定状态,从而有效地克服物料的内磨擦力和聚集力,以消除料仓内物料间的相对稳定性,使物料从料仓口顺利排出。

激振力的调节
振动器激振力大小正比于偏心块的质量,偏心距和角速度的平方。振动器每端出轴均有一个固定偏心块和一个活动偏心块、改变活动偏心块与固定偏心块之间的夹角即改变偏心质量,可得到不同的激振 力。电机激振力的大小等于固定偏心块上的振动力标牌读数乘以2/1000。电机出厂时固定偏心块和活动偏心块完全重合,激振力为额定激振力。

- 拆除电机两端罩壳。
- 旋松两端外侧活动偏心块夹紧螺栓。
- 两端活动偏心块同方向转动,使活动偏心块尖角对准激振力标牌上的所需刻度,拧紧偏心块夹紧螺栓。
- 装上罩壳。
技术参数
该产品执行标准参照JB5330-91《振动三相异步电动机》。
外形尺寸

注:ZFB系列草莓app黄版ios正确使用方法:频繁的启动,短时间使用(一般设定振打时间30秒左右)
